Ujawniono patent jaki zgłosiło do ochrony BMW. Jest to zupełnie zrewolucjonizowana kierownica, o ile można tak ją jeszcze nazwać.
Dla aut autonomicznych
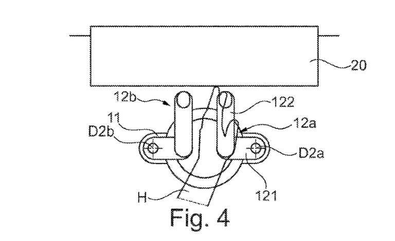
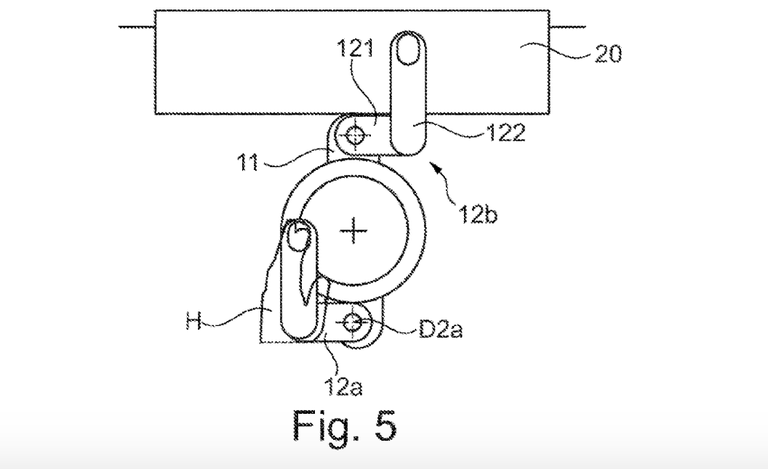
Kierownica przedstawiona na rysunkach ma znaleźć zastosowanie w samochodach autonomicznych. Jak wiadomo, w tego rodzaju projektach będzie się już liczyła nie tylko przestrzeń dla pasażerów, ale również dla kierowcy. Takie było jedno z głównych założeń tego projektu. Uzyskanie jak najwięcej przestrzeni, aby osoba kierująca, a właściwie włączająca jedynie autopilota miała miejsce na czytanie prasy, czy odbieranie maili podczas jazdy. Drugą kwestią na jakiej skupiali się projektanci była możliwość prowadzenia samochodu jedną ręką. Ma być to możliwe dzięki specyficznemu przemieszczaniu się ramion kierownicy. Tłumacząc to najprościej, będziemy mogli zrobić pełny obrót kierownicy bez zmiany pozycji dłoni, cały czas mając kciuk skierowany do góry i bez konieczności puszczania jej nawet na sekundę.
Koniec z kierownicą jaką znamy?
Cele zdecydowanie zostały osiągnięte, taki projekt zabiera tak mało miejsca jak jest to tylko możliwe. Dodatkowo całkowicie zmienia sposób prowadzenia samochodu, gdy to my będziemy to robili. Mówiąc o takich pojazdach wydaje się to być odległa przyszłość jednak pamiętajmy, że aktywne tempomaty są już z nami od dawna. Na dodatek większość nowoczesnych samochodów posiada asystenta utrzymywania pasa ruchu. Autonomiczne pojazdy są, więc jedynie kwestią czasu.
BMW już przygotowuje się do takiej przyszłości i po tym projekcie można powiedzieć, że traktuje ją bardzo poważnie. Jednakże jest to jedynie patent, co w żadnym wypadku nie zobowiązuje producenta do wykorzystania go. Choć powagi całej sytuacji dodaje fakt, że został on wypełniony nie tylko w Niemczech, ale również w Chinach. Czas pokaże czy trafi ona do produkcji. Mnie osobiście podoba się innowacyjność tego rozwiązania, ale sam wygląd takiej kierownicy za bardzo kojarzy się z samolotami.
Co sądzicie o takim designie? Będziecie czekać na tę przyszłość, czy jesteście tradycjonalistami i kierownica według was powinna być w kształcie koła?
Mateusz Zimoń
Żródło i fot. caranddriver.com





